Esempio di applicazione Ventilatore

Requisiti
Per un sistema di ventilazione domestico è necessario trovare un cuscinetto assolutamente silenzioso. Il cuscinetto deve compensare determinate tolleranze di fabbricazione dell'alloggiamento stampato ad iniezione. L'alloggiamento ha un design compatto; solo un piccolo spazio di installazione è disponibile per il cuscinetto.
Soluzione
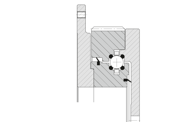
Cuscinetto in elementi LEZ367 con filo da 2,5 mm e sfere da 6 mm.
Soluzione di scorrimento utilizzata
Vantaggi
Al fine di minimizzare il rumore, la gabbia a sfere del cuscinetto è dotata solo di ogni seconda sfera. L'alloggiamento stampato ad iniezione è stato ottimizzato per facilitare il montaggio in serie da parte del cliente.



